安全日志
更新时间 2024-06-17 16:37:25
最近更新时间: 2024-06-17 16:37:25
本节介绍安全日志中的相关功能。
在“安全日志”菜单,可以查看应用阻止日志、我的申请和处理事项等相关记录。
当桌面处于管控状态,用户可在此查看被阻止运行的应用的历史纪录。
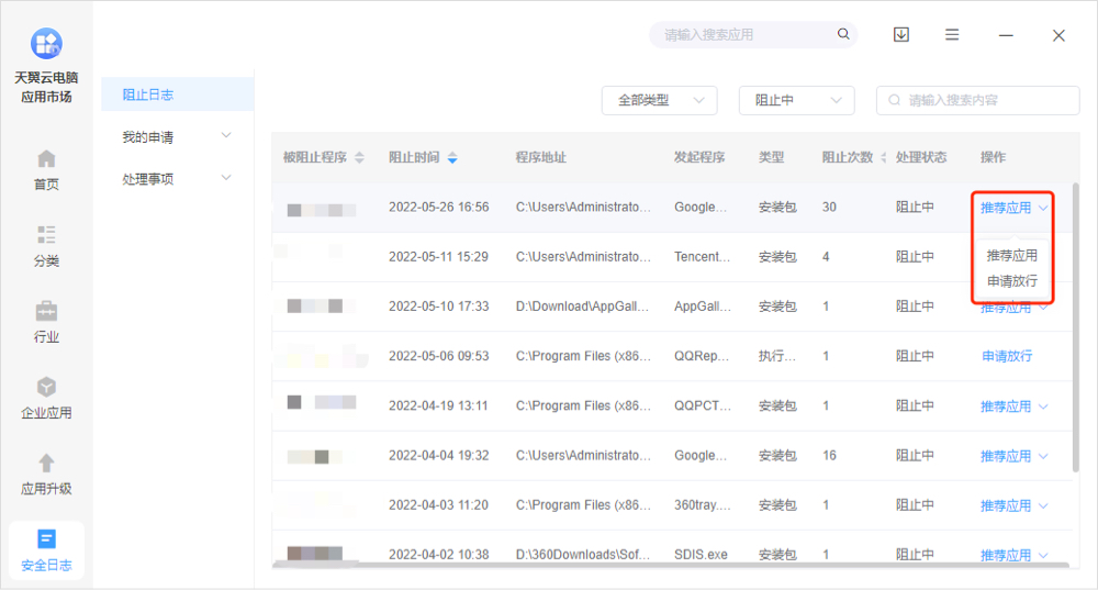
阻止日志
阻止历史
在此页面,可对阻止日志进行类型与状态的筛选,并支持搜索。

发起申请
点击阻止记录右侧的“推荐应用”,可向管理员推荐上架或申请放行该应用

我的申请
用户可以查看当前桌面用户向管理员提交的程序放行与应用推荐记录。

程序放行
在此页面,用户可以看到自己向管理员申请放行的历史记录。

应用推荐
在此页面,可以看到自己向管理员推荐应用的历史记录。

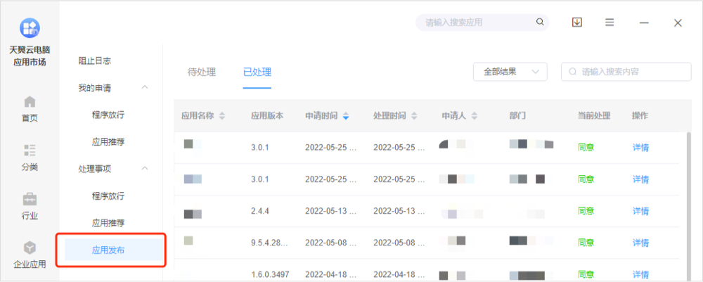
处理事项
管理员可以在这里处理“程序放行”、“应用推荐”和“应用发布”三种类型的申请。

程序放行
在此页面,用户能够查看并处理所有的程序放行申请。

应用推荐
在此页面,用户能够查看并处理所有的应用推荐申请。

应用发布
在此页面,用户能够查看并处理所有的应用发布申请。
