应用场景说明
翼加密是首个针对天翼AI云电脑场景的文件加密安全解决方案。通过高安全性的加密算法,对天翼AI云电脑(政企版)内的文件实时无感加密。在保证用户正常使用天翼AI云电脑(政企版)的前提下,保障企业内部的敏感和机密数据文件安全不外泄。
加密文件如被移到天翼AI云电脑外部的非加密环境,则无法正常打开。防止有意/无意的文件泄漏行为。加密文档如需外发,必须经过严格的脱密审批,并且保留审批记录,有迹可循。
翼加密的优势包括:
透明加密技术:采用高级别加密算法,文件以密文形式保存,对有权限用户透明,不影响企业正常办公和使用习惯。
严格的外发控制:无权限用户无法正常打开加密文件。加密文件如需脱密外发必须审批,有迹可循。
全面的加密管控:可通过配置加密算法、加密强度,范围等精准管控加密力度,支持多种高级加密标准算法。
前提条件
- 已开通天翼AI云电脑(政企版),详情请参见快速订购AI云电脑。
- 已开通翼加密,详情请参见开通翼加密。
- 已在AI云电脑内下载安装翼加密客户端,详情请参见安装加密应用。
- 为了保证翼加密的正常使用,在使用之前,请您务必认真阅读用户须知注意事项。详情请参见用户须知。
操作步骤
步骤一:创建加密策略
开通翼加密后,通过天翼AI云电脑(政企版)控制台菜单找到“文件加密”——“加密策略管理”,点击“新建”即可自定义创建加密策略。

加密策略配置项说明如下所示:
策略内容
安全办公场景:
加密范围:文档文件全选
加密强度:标准
金融财务办公:
加密范围:文档文件全选
加密强度:最高
自定义设置:不预设加密范围和加密强度,完全由管理员自定义选择
加密范围
租户管理员可以根据具体的应用程序以及相应的文件格式类型,自定义配置加密文件的范围。
剪切板控制
开启后加密管控进程打开的文件无法复制粘贴内容到非加密管控进程,比如用WPS打开的word文档内的文字图片无法复制到微信,保证加密数据安全无泄漏。
加密管控进程之间的复制粘贴操作正常,如WPS打开的多个word文档之间允许复制粘贴。
加密强度
国密算法(旗舰版):SM4,适用于有国密加密安全要求的政企部门或组织。
最高(旗舰版):AES-256,安全系数最高,适用对文件安全性要求高的场景。
高(旗舰版):AES-192,安全系数高,适用于对文件安全性有较高要求的场景。
标准(标准版):AES-128,基础的安全加密等级,能有效加密文件,防止文件数据外泄。
步骤二:分配加密策略
创建加密策略后,回到策略管理列表,点击右侧的“分配”,可自定义设置加密策略的适用范围。

加密策略可以按3个维度进行分配。
分配给部门:部门内的所有桌面将被分配上策略。并且该部门添加新的桌面时,新桌面也将分配上对应的加密策略。
分配给桌面池:桌面池内的所有桌面将被分配上策略。并且该桌面池添加新的桌面时,新桌面也将分配上对应的加密策略。
分配给桌面:加密策略也可以直接分配给桌面。

注意:当桌面分配的加密策略,与对应的桌面池、部门设置的加密策略冲突时,按桌面>桌面池>部门的优先级判断。即:
1.先判断桌面是否分配了加密策略,若有,则以桌面分配的加密策略为准;
2.若桌面没有分配加密策略,则判断桌面所属桌面池是否分配了加密策略,若有,则以桌面池分配的加密策略为准;
3.若桌面池也没有分配加密策略,则判断桌面所属部门是否分配了加密策略,若有,则以部门分配的加密策略为准。
步骤三:开启加密
分配好加密策略后,点击“文件加密”——“加密桌面管理”,就能看到所有被分配了加密策略的桌面。批量勾选列表中的桌面,点击列表顶部的“开启加密”按钮,即可开启AI云电脑加密保护。
开启加密的AI云电脑,所有新建、下载、接收及编辑保存的目标文件类型都将自动加密。

如果希望对AI云电脑内之前已经存在的文件进行加密,可以选择AI云电脑并点击“全盘加密”
全盘加密之前,将对AI云电脑先进行重启操作,请确保AI云电脑内文件已保存,并退出登录AI云电脑客户端。请不要将需要加密的AI云电脑关机。
全盘加密完成后,AI云电脑内已有的所有目标文件会被加密保护。并且后续AI云电脑编辑保存、接收、下载的所有目标类型文件将被自动加密保护。
注意:全盘加密/解密的持续时间与AI云电脑内的文件数有关,若AI云电脑内文件数较大,全盘加密/解密时间也相应更长。为了不影响AI云电脑正常使用,建议在晚上等不使用AI云电脑的时段进行全盘加密/解密操作。
步骤四:脱密审批流程设置
AI云电脑内的加密文件外发可以设置审批流程。打开“组织管理”——“审批流程”,点击“分管设置”,设置租户内各个部门的分管人员。部门内用户提交的脱密申请将由分管人员审批。

部门的分管人员若设置了多个,则部门内人员提交的脱密申请,按该部门分管人员列表从上到下的顺序进行审批。
若配置分管人员时发现部门人员与当前组织架构不符,可点击列表右上方的“同步组织机构”进行更新。
除此之外,脱密审批流程支持更加灵活的自定义配置。在“流程配置”中找到企业加密流程,点击“编辑”进行修改。

审批节点设置:
审批节点是阻塞节点,需审批人处理才能继续流程。

审批人若选择部门,则该部门的所有人都要处理该节点(不包括子部门人员)。
审批人若选择人员,则指定某个人或多个人处理该节点。
审批人若选择角色,则属于该角色的所有人员均要处理该节点。
审批人若选择人员部门控件,则可动态的选择审批人。
审批人还可通过函数逐层查找,包括:添加新的逐层经理函数,添加新的主管函数,添加角色查找函数。
执行结果
当AI云电脑在天翼AI云电脑(政企版)控制台完成翼加密配置后,则可以在AI云电脑内的“翼加密客户端”进行文件脱密申请&审批,具体操作如下:
文件脱密申请
用户可以根据需要,在自己的加密AI云电脑,针对加密文件发起脱密申请。脱密申请一次最多15个文件,上传的单个文件最大支持200M,大于200M文件会被自动剔除。
注:如果需要脱密大于200M的文件,请联系租户的加密管理员申请脱密。
步骤一:选择需要脱密的文件
选择文件发起脱密申请的方式有3种:
(1)批量选择需要脱密外发的加密文件,点击鼠标右键,在右键菜单中点击“使用翼加密申请文件脱密”。

(2)双击桌面的“翼加密”客户端快捷方式,打开客户端首页,在首页点击“新脱密申请”按钮进行文件脱密申请。

(3)在脱密申请页,点击“选取文件”选择需要申请脱密的文件。

步骤二:选择脱密方式
脱密方式包括脱密邮件和脱密下载两种:
(1)脱密邮件:
审批通过后,会将脱密文件通过邮件发送给收件人。下载链接6天后将失效,收到邮件后需及时下载脱密文件。
(2)脱密下载:
审批通过后,可在客户端下载脱密文件。下载链接6天后将失效,需及时下载。脱密文件通过客户端脱密下载到加密AI云电脑内,在再次编辑保存之前将保持脱密状态。用户可以直接通过IM软件、邮箱或者OA等办公软件进行上传或外发。
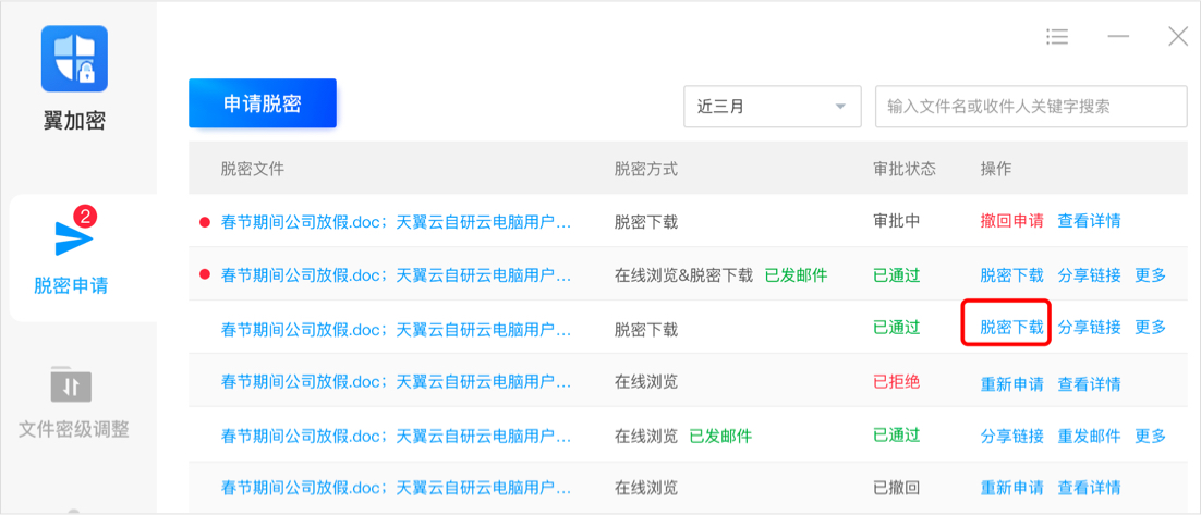
步骤三:脱密申请提交、流转及结果反馈
提交的脱密申请,在未被审批之前,申请人可以随时撤回并重新编辑,再次提交。
脱密申请审批完成后,审批的结果会通过消息提醒申请人:
(1)若审批不通过,申请人可以根据审批意见修改脱密申请重新提交。

(2)如通过脱密邮件的申请,收件人邮箱将收到由“翼加密”官方发送的脱密文件;如未收到,可尝试点击“重新发送”;

(3)如通过脱密下载的申请,可在相应记录的右侧操作栏点击“脱密下载”,或点开申请详情页逐个或全部下载。


步骤四:下载邮件内的脱密文件(脱密邮件)
脱密外发收件人邮箱中将收到由“翼加密”官方发送的脱密文件,点击下载即可下载脱密后文件。自审批通过之日起算,7天后下载链接将失效,请及时下载。

脱密审批
有脱密申请审批权限的用户,客户端首页会有脱密审批入口。并且,当审批人接收到新的脱密申请时,右下角消息中心将会弹出提示。审批人点击消息可以快速打开脱密审批详情页进行审批处理。


审批人打开打开审批详情页,可下载查看申请脱密的文件,进行脱密审批。
